TMDI Sistemleri ile Yapılarda Titreşim Azaltma, Ağırlık Optimizasyonu ve Enerji Hasadı
Bu yazıda, inerter tabanlı Tuned Mass Damper Inerter (TMDI) sistemlerinin; * Titreşim bastırma performansını nasıl artırdığını, * Ek kütle ihtiyacını nasıl ciddi ölçüde azalttığını, * Deprem etkileri altında SDOF ve MDOF yapılardaki davranışını, * Titreşimden enerji hasadı potansiyelini formüller ve mühendislik modelleri eşliğinde ele aldık.
Erkam V. Ballı
12/28/20154 min oku


1. Giriş: Yapılarda Titreşim Problemi ve Klasik Yaklaşım
Deprem, rüzgâr ve trafik gibi dinamik etkiler altında çalışan yapılarda titreşim kontrolü, performansa dayalı tasarımın temel konularından biridir. Geleneksel deprem tasarım felsefesi, kontrollü hasarı kabul eden inelastik davranışa dayanırken; modern mühendislik uygulamaları pasif titreşim kontrol sistemleri ile yapısal talepleri azaltmayı hedefler.
Bu sistemler arasında:
Sismik izolasyon,
Enerji sönümleyiciler,
Ayarlı Kütle Sönümleyiciler (Tuned Mass Damper – TMD)
öne çıkan çözümler arasındadır.
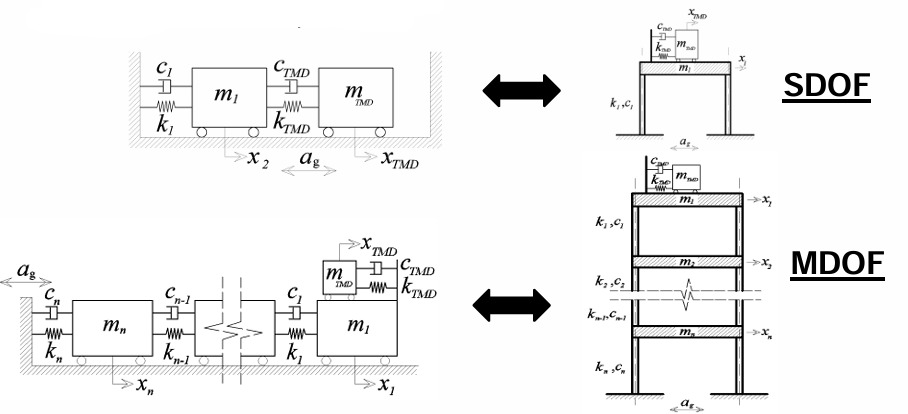
Klasik TMD’nin Matematiksel Modeli;
2. Tuned Mass Damper (TMD): Avantajlar ve Sınırlamalar
TMD, ana yapıya yay ve sönümleyici ile bağlanan ilave bir kütleden oluşur. Doğru ayarlandığında, yapının rezonans bölgesindeki titreşimlerini etkin şekilde bastırabilir.
Ancak klasik TMD sistemlerinin temel bir dezavantajı vardır:
Titreşim azaltma performansı, doğrudan eklenen kütlenin büyüklüğüne bağlıdır.
Örneğin:
Rüzgâr ve trafik etkileri için TMD kütlesi genellikle toplam yapı kütlesinin %1–10’u,
Deprem etkileri için ise %25–100’ü mertebesine çıkabilmektedir.
Bu durum, özellikle yüksek yapılarda ağırlık, yerleşim ve maliyet problemleri doğurur.
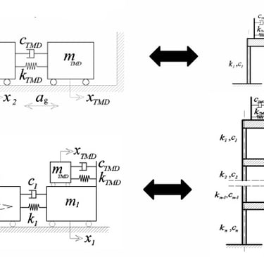
3. İnerter Kavramı ve Kütle Büyütme Etkisi
Bu noktada devreye inerter girer. İnerter, iki ucu serbestçe hareket edebilen ve uçları arasındaki bağıl ivmeye orantılı kuvvet üreten bir mekanik elemandır.
İnerterin en kritik özelliği şudur:
Fiziksel kütlesi küçük olmasına rağmen, dinamik olarak çok büyük bir “eşdeğer kütle” etkisi yaratabilir.
Bu etki literatürde kütle büyütme (mass amplification) olarak adlandırılır ve “b” inertans katsayısı ile ifade edilir.




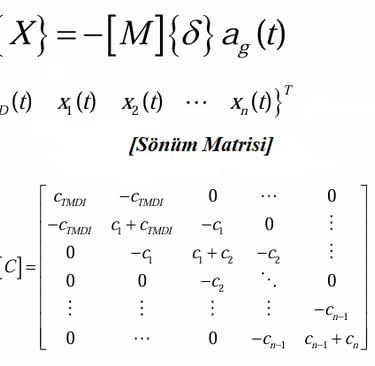
SDOF bir sistem için TMD ile donatılmış hareket denklemleri şu şekilde ifade edilebilir:
İnerter Kavramı ve Kütle Büyütme Etkisi:
İnerter, iki ucu serbest hareket edebilen ve uçları arasındaki bağıl ivmeye orantılı kuvvet üreten bir mekanik elemandır:

Burada b inerter katsayısıdır ve birimi kütledir. İnerter sayesinde sistemin etkin kütlesi şu şekilde artar:
MDOF bir sistem için TMD ile donatılmış hareket denklemleri şu şekilde ifade edilebilir:


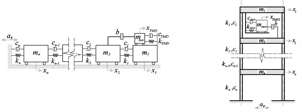
4. TMDI: Tuned Mass Damper – Inerter Sistemi
TMDI (Tuned Mass Damper Inerter), klasik TMD sistemine bir inerter eklenmesiyle elde edilen yeni nesil bir pasif titreşim kontrol çözümüdür.
TMDI sistemleri:
Klasik TMD’nin genelleştirilmiş bir formudur,
Mevcut TMD ayar (tuning) yöntemleri uygulanabilir,
Aynı titreşim azaltma seviyesini çok daha düşük fiziksel kütle ile sağlayabilir.
Bu özellik, TMDI’yi özellikle deprem mühendisliği açısından cazip hale getirir.
5. Tek Serbestlik Dereceli (SDOF) Sistemlerde TMDI Performansı
Harmonik ve beyaz gürültü taban uyarımı altında yapılan analizler şunu göstermektedir:
İnerter eklendiğinde, ana yapının tepe frekanslarındaki yer değiştirme genliği belirgin şekilde azalır.
Aynı kütle oranı için TMDI, klasik TMD’ye göre daha düşük maksimum tepki üretir.
Sistem, ayar hatalarına (detuning) karşı daha dayanıklı hale gelir.
Artan inertans değerleri ile performans artışı bir noktadan sonra doygunluğa ulaşır.
Örnek bir karşılaştırmada:
Klasik TMD ile μ = 0.63 kütle oranı gerekirken,
TMDI ile aynı performans μ = 0.34 kütle oranında elde edilebilmektedir.
6. Çok Serbestlik Dereceli (MDOF) Yapılar ve Deprem Etkisi
Çok katlı yapılarda TMDI, katlar arası bağlayıcı bir eleman olarak modellenebilir. Stokastik, zamana bağlı deprem kayıtları altında yapılan optimizasyon çalışmaları şu sonuçları vermektedir:
TMDI, üst kat deplasmanlarını klasik TMD’ye kıyasla daha fazla azaltır.
Aynı performans indeksi için gerekli ek kütle ciddi ölçüde düşer.
Örneğin, belirli bir performans seviyesi için:
TMD: 31 ton ek kütle,
TMDI: 6 ton ek kütle yeterli olmaktadır.
Bu fark, pratik mühendislik uygulamaları açısından oyun değiştirici niteliktedir.
7. Enerji Hasadı Özelliği: Titreşimden Elektrik Üretimi
TMDI sistemleri, elektromanyetik bir jeneratör ile birleştirildiğinde enerji hasadı yapabilmektedir. Bu durumda sistem:
Titreşimi azaltırken,
Aynı zamanda elektrik enerjisi üretir.
Ancak önemli bir mühendislik gerçeği ortaya çıkar:
Titreşim bastırma için optimal olan bir sistem, enerji hasadı için optimal değildir.
İnerter oranı arttıkça:
Titreşim bastırma iyileşir,
Ancak bağıl hız azaldığı için hasat edilebilen enerji düşer.
Bu nedenle TMDI, titreşim kontrolü – enerji hasadı arasında ayarlanabilir bir denge sunar.
8. Sonuç ve Mühendislik Açısından Değerlendirme
TMDI sistemleri, Klasik TMD’lere göre çok daha hafif, Daha etkin, Daha esnek ve Enerji hasadı potansiyeline sahip
bir pasif titreşim kontrol çözümüdür. Özellikle: Yüksek binalar, Köprüler, Rüzgâr türbinleri, Açık deniz yapıları için geleceğin mühendislik çözümleri arasında yer almaktadır.


